Project Playmo no existe, pero PlayStation tiene una patente real que juega los videojuegos por ti

Project Playmo Falso Ia Juegue Por Ti
Sin comentarios Facebook Twitter Flipboard E-mail
diego-gutierrez

Diego Gutiérrez

Editor
diego-gutierrez

Diego Gutiérrez

Editor

Amante de los deportes, fanático del buen cine y del manga/anime, entusiasta de los videojuegos y, ahora, editor en 3DJuegos México. Mi juego favorito es TLOZ Ocarina of Time, porque es el que me introdujo a este apasionante, y a la vez viciante, mundo del gaming.

180 publicaciones de Diego Gutiérrez

La Inteligencia Artificial está cada vez más presente en nuestro día a día: desde nuestro lugar de trabajo hasta en los dispositivos del hogar. Los videojuegos nunca se han llevado mal con esta tecnología, pero en medio del auge de los asistentes virtuales, las grandes marcas de la industria no iban a quedarse fuera. Pero de eso a que PlayStation acaba de presentar un control que juega por ti, está lejos de la realidad.

Project Playmo es una broma de April Fools

Por medio de redes sociales ha comenzado a circular un supuesto anuncio de PlayStation. Project Playmo se vende como una nueva generación de controles DualSense que "combinan" la ergonomía y ventajas de los mandos actuales con la incorporación de una Inteligencia Artificial. Pero antes de entrar en más detalles de la broma, tenemos que decirte que es completamente falso.

Pese a que hay un video tráiler que puede parecer completamente real, así como artículos de medios importantes cubriendo el supuesto "avance", todo se trata de una broma de April Fools. Quienes están detrás de esto es IGN, quien publicó en redes sociales dicho video y compartió más detalles como una cobertura "exclusiva". Sin embargo, cuando lees la nota completa, te das cuenta de que todo es una broma.

Al momento de escribir esta nota, no existe ningún Project Playmo ni una propuesta similar tipo Copilot por parte de PlayStation. Pero sí hay una patente que probablemente haya sido inspiración para la noticia falsa, la cuál sí visualiza en un mundo donde la Inteligencia Artificial sí tome el control de nuestras partidas...

PlayStation estaba cocinando esta IA desde hace tiempo

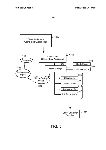
Y aunque parezca una idea única o un control del futuro, en realidad PlayStation lo llevaba cocinando desde hace tiempo. A principios de 2024, Sony presentó ante la Organización Mundial de la Propiedad Intelectual una patente de Inteligencia Artificial que jugaba los videojuegos por ti. A esta patente se le nombró como "Ghost Player", y proponía dos modos:

  • Modo guía: Un sistema que presenta pistas visuales sobre caminos a seguir dentro del juego.
  • Modo completo: La IA toma el control del personaje para resolver puzzles, superar desafíos y derrotar a jefes en tiempo real.
Project Playmo Falso Ia Playstation

Si bien Project Playmo fue una completa noticia falsa, Ghost Player deja claro hacia dónde apunta el futuro de PlayStation: una experiencia cada vez más asistida, accesible y automatizada.  Ahora solo queda ver si esta ambiciosa visión logra aterrizarse en algo que realmente encaje con lo que los jugadores esperan... y si la comunidad no vuelve a caer en bromas de April Fools.

Inicio